| 구분 | 특허 | ||
|---|---|---|---|
| 출원번호 | 1020130072659 | ||
| 출원인 | 명지대학교 산학협력단 | ||
| 등록일 | 2014.03.07 | ||
| 상태 | 등록 | ||
| 발명의 명칭(한) | 가첨 서까래 및 이의 제조방법(Endorsement rafters, and a method for manufacturing the same) | ||
| 발명의 명칭(영) | Endorsement rafters, and a method for manufacturing the same | ||
| 링크 | http://kpat.kipris.or.kr/kpat/biblioa.do?method=biblioFrame | ||
| 발명의 설명 (기술분야) |
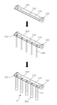
가첨 서까래 및 이의 제조방법에 관한 것으로, 특히 한옥의 처마도리를 경계로 하여 그 바깥쪽을 가첨 서까래로 하는 가첨 서까래 및 이의 제조방법에 관한 것이다. | ||
| 대표이미지 |
|
||
| 관련 키워드 | |||
| 건물유형 (실증구축 용도) |
|||
| 단계별 | |||
| 적용부위 | |||
| 성능분류 | |||
| 재료분류 | |||
※ 해당 키워드를 클릭하시면 연관 논문 및 특허목록이 재검색됩니다.